Добавить изоляторы в заказ
Изоляторы предназначены для изоляции и крепления токоведущих частей в электрических аппаратах, комплектных распределительных устройствах, токопроводах, распределительных устройствах электрических станций и подстанций переменного напряжения свыше 1000 В частоты до 100 Гц.
Опорные стержневые изоляторы типа ИОС изготовлены в соответствии с требованиями ГОСТ Р 52034-2003, ГОСТ 25073-81. Изоляционная часть изготавливается из материала керамического электротехнического подгруппы 110 по ГОСТ 20419-83. Арматура изоляторов типа ИОС изготавливается из высокопрочного чугуна ВЧ 50 по ГОСТ 7293, серого чугуна СЧ 15 ГОСТ 1412, ковкого чугуна КЧ 45-7, КЧ 33-8 по ГОСТ 1215 и литейной стали 35Л по ГОСТ 977 и имеет антикоррозионное цинковое или лакокрасочное покрытие. Армирующий состав портландцемент ПЦ-500 ДОН ГОСТ 10178-85. Армирующие поверхности и швы защищены силиконовым герметиком.
 |
Изолятор ИОС 10-500 УХЛ, Т1
| Тип |
ГОСТ, ТУ |
Номинальное напряжение, кВ |
Минимальная механическая разрушающая сила на изгиб, кН |
Испытательное напряжение грозового импульса, кВ |
Длина пути утечки, см |
Масса, кг |
| ИОС 10-500 УХЛ, Т1 |
ГОСТ 25073 |
10 |
5 |
80 |
190 |
4,3 |
|
 |
Изолятор ИОС 10-2000
| Тип |
ГОСТ, ТУ |
Номинальное напряжение, кВ |
Минимальная механическая разрушающая сила на изгиб, кН |
Длина пути утечки, см |
Масса, кг |
| ИОС 10-2000 УХЛ1 |
ГОСТ 9984-85 |
10 |
20 |
20 |
26 |
| ИОС 10-2000 УХЛ Т1 |
ГОСТ Р 52034-2003 |
10 |
20 |
20 |
26 |
| ИОС 10-2000-01 (М) УХЛ1 |
ГОСТ 9984-85 |
10 |
20 |
20 |
22 |
| Тип |
Испытательное напряжение грозового импульса, кВ |
Испытательное напряжение при плавном подъеме |
| в сухом состоянии, кВ |
под дождем, кВ |
| ИОС 10-2000 УХЛ1 |
80 |
47 |
34 |
| ИОС-10-2000 УХЛ Т1 |
80 |
47 |
34 |
| ИОС 10-2000-01 (М) УХЛ1 |
80 |
47 |
34 |
|
 |
Изолятор ИОС 20-2000 УХЛ, Т1
| Тип |
ГОСТ, ТУ |
Номинальное напряжение, кВ |
Минимальная механическая разрушающая сила на изгиб, кН |
Испытательное напряжение грозового импульса, кВ |
Длина пути утечки, см |
Масса, кг |
| ИОС 20-2000 УХЛ, Т1 |
ГОСТ 20419 |
20 |
20 |
125 |
40 |
23 |
|
 |
Изолятор ИОС 35-500-01 УХЛ, Т1
| Тип |
ГОСТ, ТУ |
Номинальное напряжение, кВ |
Минимальная механическая разрушающая сила на изгиб, кН |
Минимальный разрушающий момент при кручении, кН*м |
Длина пути утечки, см |
Масса, кг |
| ИОС 35-500-01 УХЛ, Т1 |
ГОСТ 9984-85 |
35 |
5 |
2 |
70 |
16 |
| Тип |
Испытательное напряжение грозового импульса, кВ |
Испытательное напряжение при плавном подъеме |
| в сухом состоянии, кВ |
под дождем, кВ |
| ИОС 35-500-01 УХЛ, Т1 |
195 |
110 |
85 |
|
 |
Изолятор ИОС 35-1000/2000 УХЛ, Т1
| Тип |
ГОСТ, ТУ |
Номинальное напряжение, кВ |
Минимальная механическая разрушающая сила на изгиб, кН |
Минимальный разрушающий момент при кручении, кН*м |
Длина пути утечки, см |
Масса, кг |
| ИОС 35-1000 УХЛ, Т1 |
ГОСТ 9984-85 |
35 |
10 |
— |
90 |
42 |
| ИОС 35-2000 УХЛ, Т1 |
ГОСТ 9984-85 |
35 |
20 |
— |
70 |
45 |
| Тип |
Испытательное напряжение грозового импульса, кВ |
Испытательное напряжение при плавном подъеме |
| в сухом состоянии, кВ |
под дождем, кВ |
| ИОС 35-1000 УХЛ, Т1 |
195 |
110 |
85 |
| ИОС 35-2000 УХЛ, Т1 |
195 |
110 |
85 |
|
 |
Изолятор ИОС 110-400, М
| Тип |
ГОСТ, ТУ |
Номинальное напряжение, кВ |
Минимальная механическая разрушающая сила на изгиб, кН |
Минимальный разрушающий момент при кручении, кН*м |
Длина пути утечки, см |
Масса, кг |
| ИОС 110-400 УХЛ, Т1 |
ГОСТ 9984-85 |
110 |
4 |
250 |
190 |
67,0 |
| ИОС 110-400 М УХЛ, Т1 |
ТУ 3493-004- 00214646-2001 |
110 |
4 |
250 |
205 |
69,4 |
| Тип |
Испытательное напряжение грозового импульса, кВ |
Испытательное напряжение при плавном подъеме |
| в сухом состоянии, кВ |
под дождем, кВ |
| ИОС 110-400 УХЛ, Т1 |
480 |
295 |
215 |
| ИОС 110-400 М УХЛ, Т1 |
480 |
295 |
215 |
|
 |
Изолятор ИОС 110-600, М
| Тип |
ГОСТ, ТУ |
Номинальное напряжение, кВ |
Минимальная механическая разрушающая сила на изгиб, кН |
Минимальный разрушающий момент при кручении, кН*м |
Длина пути утечки, см |
Масса, кг |
| ИОС 110-600 УХЛ, Т1 |
ГОСТ 9984-85 |
110 |
6 |
5 |
223 |
79,0 |
| ИОС 110-600 М УХЛ, Т1 |
ТУ 3493-004- 00214646-2001 |
110 |
6 |
5 |
223 |
79,7 |
| Тип |
Испытательное напряжение грозового импульса, кВ |
Испытательное напряжение при плавном подъеме |
| в сухом состоянии, кВ |
под дождем, кВ |
| ИОС 110-600 УХЛ, Т1 |
480 |
295 |
215 |
| ИОС 110-600 М УХЛ, Т1 |
480 |
295 |
215 |
|
 |
Изолятор ИОС 110-2000 УХЛ, Т1
| Тип |
ГОСТ, ТУ |
Номинальное напряжение, кВ |
Минимальная механическая разрушающая сила на изгиб, кН |
Испытательное напряжение грозового импульса, кВ |
Длина пути утечки, мм |
Масса, кг |
| ИОС 110-2000 УХЛ, Т1 |
ГОСТ 9984-85 |
110 |
20 |
480 |
190 |
96,0 |
| ИОС 110-2000-01 УХЛ, Т1 |
ГОСТ 9984-85 |
110 |
20 |
480 |
200 |
106,0 |
|
 |
Изолятор 2820 (неармированный)
| Тип |
Номинальное напряжение, кВ |
Масса, кг |
| 2820 (неармир.) |
1 |
0,7 |
|
 |
Изоляторы С4-195, С4-80
| Тип |
ГОСТ, ТУ |
Номинальное напряжение, кВ |
Минимальная механическая разрушающая сила на изгиб, кН |
Минимальный разрушающий момент при кручении, кН*м |
Длина пути утечки, см |
Масса, кг |
| С 4-195 I УХЛ, Т1 |
ГОСТ 9984-85 |
35 |
4 |
1,2 |
70 |
9,8 |
| С 4-195 II УХЛ, Т1 |
ГОСТ 9984-85 |
35 |
4 |
1,2 |
105 |
12,5 |
| С 4-80 II УХЛ1 |
ГОСТ 9984-85 |
10 |
4 |
4,0 |
300 |
2,9 |
| Тип |
Испытательное напряжение грозового импульса, кВ |
Испытательное напряжение при плавном подъеме |
| в сухом состоянии, кВ |
под дождем, кВ |
| С 4-195 I УХЛ, Т1 |
195 |
110 |
85 |
| С 4-195 II УХЛ, Т1 |
195 |
110 |
85 |
| С 4-80 II УХЛ1 |
80 |
- |
- |
|
 |
Изоляторы С6-125, С4-450, С6-450
| Тип ГОСТ 9984-85 |
Номинальное напряжение, кВ |
Минимальная разрушающая усилие на изгиб, кН |
Длина пути утечки, см |
| С 6-125-II УХЛ 1 |
20 |
5,6 |
55 |
| С 4-450-I УХЛ, Т1 |
110 |
4 |
190 |
| С 4-450-II УХЛ, Т1 |
110 |
4 |
280 |
| С 6-450-I-02 УХЛ, Т1 |
110 |
6 |
190 |
| С 6-450-II-02 УХЛ, Т1 |
110 |
6 |
280 |
| Тип ГОСТ 9984-85 |
Установочные размеры |
Масса, кг |
| L,мм |
H, мм |
D, мм |
Арматура |
| верх |
низ |
| d, мм |
d1, мм |
d2, мм |
d, мм |
d1, мм |
d2, мм |
| С 6-125-II УХЛ 1 |
204 |
320 |
202 |
120 |
127 |
13 |
120 |
127 |
13 |
9,0 |
| С 4-450-I УХЛ, Т1 |
872 |
1050 |
180 |
131 |
127 |
М16 |
220 |
178 |
18 |
34,0 |
| С 4-450-II УХЛ, Т1 |
872 |
1050 |
217 |
131 |
127 |
М16 |
220 |
178 |
18 |
43,0 |
| С 6-450-I-02 УХЛ, Т1 |
872 |
1050 |
195 |
131 |
127 |
М16 |
220 |
178 |
18 |
45 |
| С 6-450-II-02 УХЛ, Т1 |
872 |
1050 |
232 |
131 |
127 |
М16 |
220 |
178 |
18 |
49,0 |
|
 |
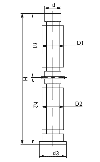
Изоляторы С6-950, С9-950
| Тип ГОСТ 9984-85 |
Номинальное напряжение, кВ |
Минимальная разрушающая усилие на изгиб, кН |
Длина пути утечки, см |
Испытательное напряжение грозового импульса, кВ |
| С 6-950 I УХЛ, Т1 |
220 |
6 |
570 |
950 |
| С 6-950 II УХЛ, Т1 |
220 |
6 |
380 |
950 |
| Тип ГОСТ 9984-85 |
Размеры |
Масса, кг |
| H, мм |
h1, мм |
h2, мм |
D1, мм |
D2, мм |
d, мм |
d3, мм |
| С 6-950 I УХЛ, Т1 |
2100 |
1050 |
1050 |
232 |
281 |
146 |
265 |
145 |
| С 6-950 II УХЛ, Т1 |
2100 |
1050 |
1050 |
180 |
229 |
146 |
265 |
132 |
|
 |
Изолятор С8-1300
| Тип ГОСТ 9984-85 |
Номиналь-ное напряже-ние, кВ |
Минимальное разрушающее усилие на изгиб, кН |
Длина пути утечки, см |
Испытательное напряжение грозового импульса, кВ |
Размеры |
Масса, кг |
| H, мм |
h1, мм |
h2, мм |
D1, мм |
D2, мм |
| С 8-1300 I УХЛ, Т1 |
330 |
8 |
580 |
1300 |
2900 |
1450 |
1450 |
253 |
280 |
295 |
| С 8-1300 II УХЛ, Т1 |
330 |
8 |
950 |
1300 |
2900 |
1450 |
1450 |
296 |
323 |
337 |
|
 |
Изолятор С8-1800
| Тип ГОСТ 9984-85 |
Номиналь-ное напряже-ние, кВ |
Минималь-ное разруша-ющее усилие на изгиб, кН |
Длина пути утечки, см |
Испытательное напряжение грозового импульса, кВ |
Размеры |
Масса, кг |
| H, мм |
h1, мм |
h2, мм |
D1, мм |
D2, мм |
D3, кг |
| С 8-1800 I УХЛ, Т1 |
500 |
8 |
800 |
1800 |
400 |
1450 |
1100 |
253 |
280 |
285 |
457,0 |
| С 8-1800 II УХЛ, Т1 |
500 |
8 |
1180 |
1800 |
400 |
1100 |
1450 |
296 |
323 |
328 |
511,0 |
|