Добавить изоляторы в заказ
Штыревые фарфоровые изоляторы ШФ10Г, ШФ10МО, ШФ20Г, ШФ20МО, ШФ20УО, ШФ20Г1 предназначены для изоляции и крепления неизолированных и изолированных проводов на воздушных линиях электропередач и в распределительных устройствах электростанций и подстанций переменного тока напряжением 10, 20, 35 кВ соответственно частотой до 100 Гц. Эксплуатируются при температуре окружающего воздуха от -60° до +50°С. Изоляторы соответствуют требованиям ГОСТ 1232.
 |
Изоляторы предназначены для изоляции и крепления проводов ЛЭП и в РУ электростанций и подстанций переменного тока частотой до 100 Гц.
| Тип |
ГОСТ, ТУ |
Минимальная механическая разрушающая нагрузка, кН |
Пробивное напряжение в изоляционной среде, кВ |
| ШФ 10 ГО (10 кВ) |
ТУ 3493-133-00111120-96 |
12,5 |
160 |
| ШФ 10МО (10 кВ) |
ГОСТ 1232 |
12,5 |
120 |
| ШФ 20 ГО (20 кВ) |
ТУ 3493-170-00111120-2000 |
13 |
180 |
| Тип |
Выдерживаемое напряжение, кВ |
Длина пути утечки, мм |
Строительная высота, мм |
Масса, кг |
| частотой 50 Гц (в сухом состоянии), мм |
частотой 50 Гц (под дождем), мм |
импульсное напряжение 1,2/50 +/-, кВ |
| ШФ 10 ГО (10 кВ) |
65 |
42 |
100 |
256 |
140 |
1,9 |
| ШФ 10МО (10 кВ) |
63 |
45 |
80 |
260 |
140 |
1,4 |
| ШФ 20 ГО (20 кВ) |
85 |
65 |
135 |
400 |
184 |
3,5 |
|
 |
Изоляторы предназначены для изоляции и крепления провода на ВЛ электропередачи и РУ электростанций и подстанций переменного тока напряжением до 20 кВ включительно частотой до 100 Гц. Эксплуатируются при температуре окружающего воздуха от -60 до +50 0С. При монтаже изолятора на штырь не требуется применения полимерного колпачка. Изоляторы должны соответствовать требованиям ГОСТ 1232.
| Тип |
Минимальная механическая разрушающая нагрузка, кН |
Длина пути утечки, неменее, мм |
Выдерживаемое напряжение частотой 50 Гц, кВ, неменее |
Масса, не более, кг |
| в сухом состоянии |
под дождем |
| ШФ 20МО |
13 |
32,5 |
85 |
45 |
3,4 |
| ШФ 20 УО (Г1) |
13 |
32,5 |
85 |
45 |
3,27 |
|
 |
Изоляторы предназначены для изоляции и крепления проводов ЛЭП переменного тока напряжением до 1000 В, линий связи и радиотрансляционных сетей.
| Тип |
ГОСТ, ТУ |
Минимальная механическая разрушающая нагрузка, кН |
Сопротивление изоляции, МОм |
Строительная высота, мм |
Масса, кг |
| ТФ 20 |
ТУ 34-27-98-93 |
8 |
5х104 |
100 |
0,49 |
| ТФ 20 01 |
ТУ 34-27-98-93 |
8 |
5х104 |
100 |
0,47 |
| ТФ 16-01 |
ТУ 34-27-98-93 |
6 |
4-5х104 |
86 |
0,315 |
| ТФ 12-01 |
ТУ 34-27-98-93 |
3 |
2-5х104 |
67 |
0,165 |
|
 |
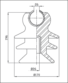
Предназначены для изоляции и крепления провода на ВЛ электропередачи и РУ электростанций и подстанций переменного тока напряжением до 35 кВ включительно частотой до 100 Гц. Эксплуатируются при температурах окружающего воздуха от -60 до +500 С. Изоляторы должны соответствовать требованиям ГОСТ 1232.
| Тип |
Нормированная механическая разрушающая сила при изгибе, кН, не менее |
D, мм |
Строит-я Высота H, мм |
Длина пути утечки, мм |
Напряжение, кВ, не менее |
Масса, кг, не более |
| пробивное в изоляцион-ной среде |
выдержи-ваемое импульсное |
выдерживаемое частотой 50 Гц |
| в сухом состоянии |
под дождем |
| ШФ 35В |
12,5 |
185 |
285 |
780 |
200 |
195 |
90 |
80 |
8,2 |
|