Каталог арматуры
Серьги (СР, СРС)
1. Преимущественная область применения
Рекомендации по выбору арматуры при комплектовании изолирующих подвесок
Указания по комплектованию различных типов изоляторов серьгами и ушками для создания простейшего вида одноцепных изолирующих подвесок приведены в таблице. Выбор других видов арматуры производится в зависимости от конструкции изолирующих подвесок (количества цепей изоляторов, числа проводов в фазе, типа изолирующих подвесок и т.п.). При комплектовании необходимо всю арматуру принимать по ближайшему стандартному ряду разрушающих нагрузок (ГОСТ 11359-75).
Таблица применяемости сцепной арматуры
| Тип изолятора | Диаметр стержня, мм | Разрушающая нагрузка арматуры, кН, не менее | Марки соединяемой сцепной арматуры | ||||||
| Серьга | Ушко однолапчатое | Ушко двухлапчатое | Ушко специальное | Ушко специальное укороченное | Ушко однолапчатое укороченное | Ушко двухлапчатое укороченное | |||
| ПФ70 ПС70 |
16 | 70 | СР-7-16 СРС-7-16 |
У1-7-16 | У2-7-16 | УС-7-16 | УСК-7-16 | У1К-7-16 | У2К-7-16 |
| ПС 120 | 16 | 120 | СР-12-16 | У1-12-16 | У2-12-16 | УС-12-16 | УСК-12-16 | — | — |
| ПС 160 | 20 | 160 | СР-16-20 | У1-16-20 | У2-16-20 | УС-16-20 | УСК-16-20 | — | — |
| ПС 210 | 20 | 210 | СР-21-20 | У1-21-20 | У2-21-20 | УС-21-20 | УСК-21-20 | — | — |
| ПС 300 | 24 | 300 | СР-30-24 | У1-30-24 | У2-30-24 | УС-30-24 | УСК-30-24 | — | — |
| ПС 400 | 28 | 400 | СР-40-28 | У1-40-28 | — | УС-40-28 | УСК-40-28 | — | — |
Серьга СРС-7-16 имеет круглое сечение проушины и предназначена для соединения с U-образным болтом на опоре.
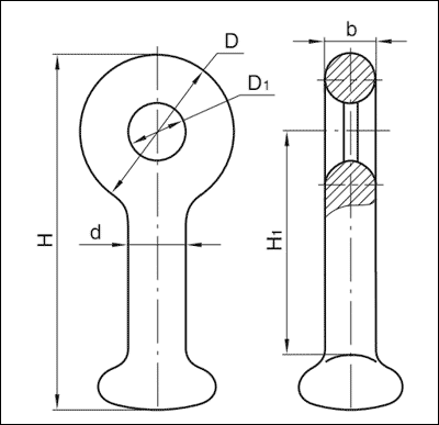
Серьги типа СР и СРС предназначены для составления изолирующих подвесок проводов и молниезащитных тросов воздушных линий электропередачи.
Серьги пестиком должны соединяться с шапкой изолятора или ушком. При этом размеры гнезд шапок изоляторов и ушек должны соответствовать условным размерам пестиков серег (ГОСТ 27396-93).
Серьги с однолапчатой проушиной должны соединяться с арматурой, имеющей двухлапчатую проушину (ГОСТ 11359-75). Разрушающая нагрузка серьги должна соответствовать разрушающей нагрузке, соединяемой с ней сцепной арматуры.
Выбор серьги для комплектования изолирующих подвесок и тросовых креплений воздушных линий электропередачи производится в зависимости от типа изолятора или ушка.
2. Конструкция
![]() |
Серьги СР-12-16 Серьги типа СР-12-16 предназначены для составления изолирующих подвесок проводов и молниезащитных тросов воздушных линий электропередачи. Масса – 0,41 кг.
|
||||||||||||||||||||
|
|
|||||||||||||||||||||
![]() |
Серьги СР-7-16 Серьги марки СР-7-16 предназначены для составления изолирующих подвесок проводов и молниезащитных тросов воздушных линий электропередачи. Масса - 0,30 кг.
|
||||||||||||||||||||
|
|
|||||||||||||||||||||
![]() |
Серьги СРС-7-16 Серьга марки СРС-7-16 применяется совместно с узлами крепления, а также с другими изделиями цепного типа. Проушина серьги СРС-7-16 выполнена с отверстием, имеющим округление края для соединения с U-образными болтами. Масса – 0,32 кг.
|
||||||||||||||||||||




