Каталог арматуры
Ушки (У1, У2, У1К, У2К, УС, УСК)
1. Преимущественная область применения
Ушки предназначены для соединения стержня подвесного изолятора или серьги с другой линейной арматурой. Гнездо сферического шарнирного соединения ушек выполняется по ГОСТ 27396-93. Соединяемые размеры проушин должны соответствовать требованиям ГОСТ 11359-75.
2. Конструкция
![]() |
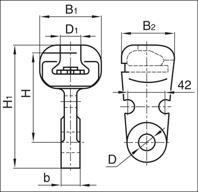
Ушко однолапчатое У1-7-16, У1-12-16 Ушки однолапчатые У1-7-16, У1-12-16 предназначены для соединения стержня подвесного изолятора или серьги с другой линейной арматурой. Гнездо сферического шарнирного соединения ушек выполняется по ГОСТ 27396-93. Соединяемые размеры проушин должны соответствовать требованиям ГОСТ 11359-75. Для запирания стержня изолятора или пестика серьги в гнезде ушки комплектуются W-образными замками.
|
||||||||||||||||||||||||||||||||||||||||||||||||||||
|
|
|||||||||||||||||||||||||||||||||||||||||||||||||||||
![]() |
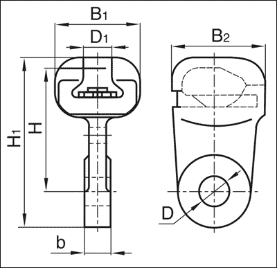
Ушко однолапчатое укороченное У1К-7-16 Ушки однолапчатые укороченные У1К-7-16 предназначены для соединения стержня подвесного изолятора или серьги с другой линейной арматурой. Гнездо сферического шарнирного соединения ушек выполняется по ГОСТ 27396-93. Соединяемые размеры проушин должны соответствовать требованиям ГОСТ 11359-75. Для запирания стержня изолятора или пестика серьги в гнезде ушки комплектуются W-образными замками. Ушки укороченные служат для комплектования изолирующих подвесок и тросовых креплений без защитной арматуры (разрядных рогов и защитных экранов). Применение укороченных ушек сокращает длину подвески и уменьшает ее массу.
|
||||||||||||||||||||||||||||||||||||||||||||||||||||
|
|
|||||||||||||||||||||||||||||||||||||||||||||||||||||
![]() |
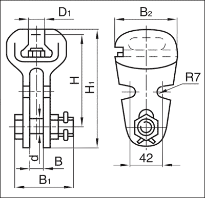
Ушко однолапчатое У2-7-16, У2-12-16 Ушки однолапчатые У2-7-16, У2-12-16 предназначены для соединения стержня подвесного изолятора или серьги с другой линейной арматурой. Гнездо сферического шарнирного соединения ушек выполняется по ГОСТ 27396-93. Соединяемые размеры проушин должны соответствовать требованиям ГОСТ 11359-75. Для запирания стержня изолятора или пестика серьги в гнезде ушки комплектуются W-образными замками.
|
||||||||||||||||||||||||||||||||||||||||||||||||||||
|
|
|||||||||||||||||||||||||||||||||||||||||||||||||||||
![]() |
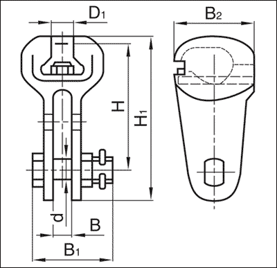
Ушко однолапчатое У2К-7-16 Ушки однолапчатые У2К-7-16 предназначены для соединения стержня подвесного изолятора или серьги с другой линейной арматурой. Гнездо сферического шарнирного соединения ушек выполняется по ГОСТ 27396-93. Соединяемые размеры проушин должны соответствовать требованиям ГОСТ 11359-75. Для запирания стержня изолятора или пестика серьги в гнезде ушки комплектуются W-образными замками.
|
||||||||||||||||||||||||||||||||||||||||||||||||||||






